Last Modified: 08-22-2025 6.11:8.1.0 Doc ID: RM0000003TPDD93
Model Year Start: 2026 Model: GR Corolla Prod Date Range: [08/2025 -           ]
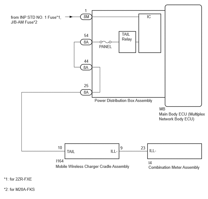
Title: POWER OUTLETS (INT): WIRELESS CHARGING SYSTEM (for Type A): Wireless Charger Illumination Circuit; 2026 MY Corolla Corolla Hatchback Corolla HV GR Corolla [08/2025 -        ]

Wireless Charger Illumination Circuit

DESCRIPTION

When the taillight on, this circuit sends an illumination signal to the mobile wireless charger cradle assembly.

WIRING DIAGRAM

except TMC Made (G16E-GTS)
for TMC Made (G16E-GTS)

CAUTION / NOTICE / HINT

NOTICE:

Inspect the fuses for circuits related to this system before performing the following procedure.

PROCEDURE

1.

CHECK HARNESS AND CONNECTOR (ILLUMINATION SIGNAL)

(a) Disconnect the I164 mobile wireless charger cradle assembly connector.

(b) Measure the voltage according to the value(s) in the table below.

Standard Voltage:

Tester Connection

Condition

Specified Condition

I164-10 (TAIL) - Body ground

Taillight off

Below 1 V

Engine switch off, taillight on

11 to 14 V

NG

REPAIR OR REPLACE HARNESS OR CONNECTOR

OK

2.

CHECK HARNESS AND CONNECTOR (COMBINATION METER ASSEMBLY - MOBILE WIRELESS CHARGER CRADLE ASSEMBLY)

(a) Disconnect the I4 combination meter assembly connector.

(b) Measure the resistance according to the value(s) in the table below.

Standard Resistance:

Tester Connection

Condition

Specified Condition

I4-23 (ILL-) - I164-9 (ILL-)

Always

Below 1 Ω

I4-23 (ILL-) or I164-9 (ILL-) - Body ground

Always

10 kΩ or higher

OK

USE SIMULATION METHOD TO CHECK

NG

REPAIR OR REPLACE HARNESS OR CONNECTOR