Last Modified: 08-22-2025 6.11:8.1.0 Doc ID: RM0000003TPCN0L
Model Year Start: 2026 Model: GR Corolla Prod Date Range: [08/2025 -           ]
Title: G16E-GTS (ENGINE CONTROL): SFI SYSTEM: P261029,P261093; ECM/PCM Engine Off Timer Performance Signal Invalid; 2026 MY GR Corolla [08/2025 -        ]

DTC

P261029

ECM/PCM Engine Off Timer Performance Signal Invalid

DTC

P261093

ECM/PCM Engine Off Timer Performance No Operation

DTC SUMMARY

DTC No.

Detection Item

DTC Detection Condition

Trouble Area

MIL

Note

P261029

ECM/PCM Engine Off Timer Performance Signal Invalid

ECM internal malfunction

ECM

Comes on

  • SAE Code: P2610
  • DTC for Mexico Models: Applies

P261093

ECM/PCM Engine Off Timer Performance No Operation

ECM internal malfunction

ECM

Comes on

  • SAE Code: P2610
  • DTC for Mexico Models: Does not apply

DTC No.

Monitoring Item

Detection Timing

Detection Logic

P261029

Soak timer (built into ECM)

EVAP monitoring

(ignition switch off)

2 trip

P261093

Soak timer (built into ECM)

Ignition switch ON

2 trip

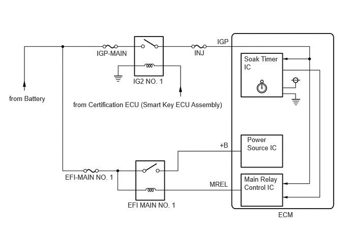
DESCRIPTION

The soak timer operates after the ignition switch is turned off. When a certain amount of time has elapsed after turning the ignition switch off, the soak timer activates the ECM to perform malfunction checks which can only be performed after the engine is stopped. The soak timer is built into the ECM.

MONITOR DESCRIPTION

If the soak timer activates the ECM even though only a short amount of time has elapsed since the ignition switch was turned off, or if the soak timer does not activate the ECM even though a considerable amount of time has elapsed since the ignition switch was turned off, the ECM determines that the soak timer is malfunctioning, illuminates the MIL and stores a DTC the next time the ignition switch is turned to ON.

MONITOR STRATEGY

Related DTC

P2610: ECM internal engine off timer performance

Required Sensors/Components (Main)

ECM

Required Sensors/Components (Related)

-

Frequency of Operation

Once per driving cycle

Duration

2 times: Case 1

-: Case 2 and 3

MIL Operation

2 driving cycles

Sequence of Operation

None

TYPICAL ENABLING CONDITIONS

All

Monitor runs whenever the following DTCs are not stored

None

Case 1

All of the following conditions are met

-

Battery voltage

8 V or higher

Ignition switch

Off

Internal engine off timer clear record

Off

Case 2

All of the following conditions are met

-

Internal engine off timer (elapsed time from engine stop)

10 minutes or more, and less than 30 minutes

Battery voltage

8 V or higher

Ignition switch

ON

Starter

Off

Case 3

All of the following conditions are met

-

Internal engine off timer (elapsed time from engine stop)

40 minutes or more

Battery voltage

8 V or higher

Ignition switch

ON

Starter

Off

TYPICAL MALFUNCTION THRESHOLDS

Case 1

One of the following conditions is met

A, B or C

A. Both of the following conditions are met

-

Internal engine off timer

9.375 seconds or more

CPU clock elapsed time

1.96608 seconds or more, and less than 8.323072 seconds

B. Both of the following conditions are met

-

Internal engine off timer

18.75 seconds or more

CPU clock elapsed time

8.323072 to 10.420224 seconds

C. Both of the following conditions are met

-

Internal engine off timer

Less than 9.375 seconds

CPU clock elapsed time

More than 10.420224 seconds

Case 2

ECM started by internal engine off timer last trip

Yes

Case 3

ECM started by internal engine off timer last trip

No

CONFIRMATION DRIVING PATTERN

HINT:

  • After repair has been completed, clear the DTC and then check that the vehicle has returned to normal by performing the following All Readiness check procedure.

    Click here 2026 MY GR Corolla [08/2025 -        ]; G16E-GTS (ENGINE CONTROL): SFI SYSTEM: DTC CHECK / CLEAR

  • When clearing the permanent DTCs, refer to the "CLEAR PERMANENT DTC" procedure.

    Click here 2026 MY GR Corolla [08/2025 -        ]; G16E-GTS (ENGINE CONTROL): SFI SYSTEM: DTC CHECK / CLEAR

  1. Connect the GTS to the DLC3.
  2. Turn the ignition switch to ON.
  3. Turn the GTS on.
  4. Clear the DTCs (even if no DTCs are stored, perform the clear DTC procedure).
  5. Turn the ignition switch off and wait for at least 30 seconds.
  6. Start the engine and warm it up until the engine coolant temperature reaches 75°C (167°F) or higher [A].
  7. Turn the ignition switch off and wait for at least 15 seconds [B].
  8. Start the engine [C].
  9. Stop the engine and leave the vehicle for 60 minutes or more [D].
  10. Turn the ignition switch to ON.
  11. Turn the GTS on.
  12. Enter the following menus: Powertrain / Engine / Trouble Codes [E].
  13. Read the pending DTCs.

    HINT:

    • If a pending DTC is output, the system is malfunctioning.
    • If a pending DTC is not output, perform the following procedure.
  14. Enter the following menus: Powertrain / Engine / Utility / All Readiness.
  15. Input the DTC: P261029 or P261093.
  16. Check the DTC judgment result.

    GTS Display

    Description

    NORMAL

    • DTC judgment completed
    • System normal

    ABNORMAL

    • DTC judgment completed
    • System abnormal

    INCOMPLETE

    • DTC judgment not completed
    • Perform driving pattern after confirming DTC enabling conditions

    HINT:

    • If the judgment result is NORMAL, the system is normal.
    • If the judgment result is ABNORMAL, the system has a malfunction.
    • [A] to [E]: Normal judgment procedure.

      The normal judgment procedure is used to complete DTC judgment and also used when clearing permanent DTCs.

    • When clearing the permanent DTCs, do not disconnect the cable from the battery terminal or attempt to clear the DTCs during this procedure, as doing so will clear the universal trip and normal judgment histories.

CAUTION / NOTICE / HINT

HINT:

  • DTC P261029 or P261093 is set if an internal ECM problem is detected. Diagnostic procedures are not required. ECM replacement is required.
  • Read Freeze Frame Data using the GTS. The ECM records vehicle and driving condition information as Freeze Frame Data the moment a DTC is stored. When troubleshooting, Freeze Frame Data can help determine if the vehicle was moving or stationary, if the engine was warmed up or not, if the air fuel ratio was lean or rich, and other data from the time the malfunction occurred.

PROCEDURE

1.

REPLACE ECM

Click here 2026 MY GR Corolla [08/2025 -        ]; G16E-GTS (ENGINE CONTROL): ECM: REMOVAL

NEXT

2.

CLEAR DTC

(a) Clear the DTCs.

Powertrain > Engine > Clear DTCs

(b) Turn the ignition switch off and wait for at least 30 seconds.

NEXT

3.

CHECK WHETHER DTC OUTPUT RECURS (DTC DTC P261029 OR P261093)

(a) Drive the vehicle in accordance with the driving pattern described in Confirmation Driving Pattern.

(b) Read the Pending DTCs.

Powertrain > Engine > Trouble Codes

HINT:

If no pending DTC is output, the repair has been successfully completed.

NEXT

END