| 
                     
                        | Last Modified: 08-21-2023 | 6.11:8.1.0 | Doc ID: RM100000001A0ID |  
                        | Model Year Start: 2019 | Model: Avalon HV | Prod Date Range: [04/2018 - 08/2020] |  
                        | Title: HYBRID / BATTERY CONTROL: MOTOR GENERATOR CONTROL SYSTEM (for NICKEL METAL HYDRIDE BATTERY): P0A1B1F; Generator Control Module Circuit Intermittent; 2019 - 2020 MY Avalon HV [04/2018 - 08/2020] |  
                     
                        
                           | DTC | P0A1B1F | Generator Control Module Circuit Intermittent |  DESCRIPTIONIf the motor generator control ECU, which is built into in the inverter with converter assembly, is reset due to a problem with the power source in the inverter, the motor generator control ECU will store this DTC. 
                     
                        
                        
                        
                        
                        
                        
                     
                     
                        
                           | DTC No. | Detection Item | DTC Detection Condition | Trouble Area | MIL | Warning Indicate |  
                           | P0A1B1F | Generator Control Module Circuit Intermittent | Error in reset signal from the inverter assembly power source IC: If internal power source voltage drops below the normal CPU operating voltage or the ROM/RAM is malfunctioning, the power source IC resets the MG ECU and stores this DTC. (1 trip detection logic) | 
                                 
                                    
Wire harness or connector
Inverter with converter assembly
 | Comes on | Master Warning Light: Comes on |  MONITOR DESCRIPTIONThe motor generator control ECU monitors its internal operation and will illuminate the MIL and store a DTC if it detects a malfunction. MONITOR STRATEGY
                     
                        
                        
                     
                     
                        
                           | Related DTCs | P0A1B (INF P0A1B1F): Drive Motor "A" Control Module |  
                           | Required sensors/components | Motor generator control ECU |  
                           | Frequency of operation | Continuous |  
                           | Duration | TMC's intellectual property |  
                           | MIL operation | Immediately |  
                           | Sequence of operation | None |  TYPICAL ENABLING CONDITIONS
                     
                        
                        
                     
                     
                        
                           | The monitor will run whenever the following DTCs are not stored | TMC's intellectual property |  
                           | Other conditions belong to TMC's intellectual property | - |  TYPICAL MALFUNCTION THRESHOLDS
                     
                        
                        
                     
                     
                        
                           | TMC's intellectual property | - |  COMPONENT OPERATING RANGE
                     
                        
                        
                     
                     
                        
                           | Motor generator control ECU | DTC P0A1B (INF P0A1B1F) is not detected |  CONFIRMATION DRIVING PATTERN
                     HINT: 
                        
After repair has been completed, clear the DTC and then check that the vehicle has returned to normal by performing the following All Readiness check procedure.
Click here
                                 
                                    
                                       ![2019 - 2020 MY Avalon HV [04/2018 - 08/2020]; HYBRID / BATTERY CONTROL: MOTOR GENERATOR CONTROL SYSTEM (for NICKEL METAL HYDRIDE BATTERY): UTILITY](/t3Portal/stylegraphics/info.gif) 
When clearing the permanent DTCs, refer to the "CLEAR PERMANENT DTC" procedure.
Click here
                                 
                                    
                                       ![2019 - 2020 MY Avalon HV [04/2018 - 08/2020]; HYBRID / BATTERY CONTROL: MOTOR GENERATOR CONTROL SYSTEM (for NICKEL METAL HYDRIDE BATTERY): DTC CHECK / CLEAR](/t3Portal/stylegraphics/info.gif)  
                     
                        
Connect the Techstream to the DLC3.
Turn the power switch on (IG) and turn the Techstream on.
Clear the DTCs (even if no DTCs are stored, perform the clear DTC procedure).
Turn the power switch off and wait for 2 minutes or more.
Turn the power switch on (IG) and turn the Techstream on.
With power switch on (IG) and wait for 15 seconds or more. [*1]
HINT: [*1]: Normal judgment procedure. The normal judgment procedure is used to complete DTC judgment and also used when clearing permanent DTCs.
Enter the following menus: Powertrain / Motor Generator / Utility / All Readiness.
Check the DTC judgment result.
                              HINT: 
                                 
If the judgment result shows NORMAL, the system is normal.
If the judgment result shows ABNORMAL, the system has a malfunction.
If the judgment result shows INCOMPLETE or N/A, perform the normal judgment procedure again.
 WIRING DIAGRAM  CAUTION / NOTICE / HINT
                     CAUTION:   NOTICE: After turning the power switch off, waiting time may be required before disconnecting the cable from the negative (-) auxiliary battery terminal. Therefore, make sure to read the disconnecting the cable from the negative (-) auxiliary battery terminal notices before proceeding with work. Click here
                        
                           
                              ![2019 - 2022 MY Avalon Avalon HV [04/2018 -        ]; INTRODUCTION: REPAIR INSTRUCTION: PRECAUTION](/t3Portal/stylegraphics/info.gif)  PROCEDURE(a) Connect the Techstream to the DLC3. (b) Turn the power switch on (IG). (c) Enter the following menus: Powertrain / Hybrid Control and Motor Generator / Trouble Codes. (d) Check for DTCs. Powertrain > Hybrid Control > Trouble CodesPowertrain > Motor Generator > Trouble Codes
                     
                        
                           | Result | Proceed to |  
                           | P0A1B1F only is output. | A |  
                           | DTCs of hybrid control system in the tables below are output. | B |  
                           | DTCs of motor generator control system in the tables below are output. | C |  
                     
                        
                        
                        
                        
                     
                     
                        
                           | Malfunction Content | System | Relevant DTC |  
                           | Communication malfunction | Motor generator control system | P312487 | Lost Communication between Drive Motor "A" and HV ECU Missing Message |  
                           | Hybrid control system | P312387 | Lost Communication with Missing Message |  
                           | U011087 | Lost Communication with Drive Motor Control Module "A" Missing Message |  (e) Turn the power switch off. 
                     
                        | 
                              
                                 | A |  
                                 |   |  |  
                     
                        
                           | 2.  | CHECK CONNECTOR CONNECTION CONDITION (INVERTER WITH CONVERTER ASSEMBLY CONNECTOR) |  Click here
                        
                           
                              ![2019 - 2020 MY Avalon HV [04/2018 - 08/2020]; HYBRID / BATTERY CONTROL: MOTOR GENERATOR CONTROL SYSTEM (for NICKEL METAL HYDRIDE BATTERY): P033500,P033531; Crankshaft Position Sensor "A"+](/t3Portal/stylegraphics/info.gif)  
                     
                        
                           | Result | Proceed to |  
                           | OK | A |  
                           | NG (The connector is not connected securely.) | B |  
                           | NG (The terminals are not making secure contact or are deformed, or water or foreign matter exists in the connector.) | C |  
                     
                        
                           | B |   | CONNECT SECURELY |  
                     
                        
                           | C |   | REPAIR OR REPLACE HARNESS OR CONNECTOR |  
                     
                        | 
                              
                                 | A |  
                                 |   |  |  
                     
                        
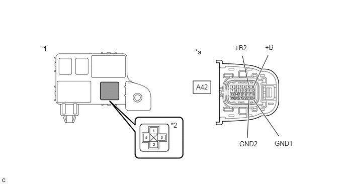
                           | 3.  | CHECK HARNESS AND CONNECTOR (INVERTER WITH CONVERTER ASSEMBLY - IGCT RELAY) |  CAUTION: Be sure to wear insulated gloves. (a) Check that the service plug grip is not installed. NOTICE: After removing the service plug grip, do not turn the power switch on (READY), unless instructed by the repair manual because this may cause a malfunction. (b) Disconnect the A42 inverter with converter assembly connector. (c) Remove the IGCT relay from the instrument panel relay block. (d) Measure the resistance according to the value(s) in the table below.   
                     
                        
                        
                        
                        
                     
                     
                        
                           | *1 | Instrument Panel Relay Block | *2 | IGCT Relay |  
                           | *a | Front view of wire harness connector (to Inverter with Converter Assembly) | - | - |  Standard Resistance:  
                     
                        
                        
                        
                     
                     
                        
                           | Tester Connection | Condition | Specified Condition |  
                           | A42-6 (+B) - 5 (IGCT relay) | Power switch off | Below 1 Ω |  
                           | A42-5 (+B2) - 5 (IGCT relay) | Power switch off | Below 1 Ω |  
                           | A42-24 (GND1) - Body ground | Power switch off | Below 1 Ω |  
                           | A42-23 (GND2) - Body ground | Power switch off | Below 1 Ω |  (e) Install the IGCT relay. (f) Reconnect the A42 inverter with converter assembly connector. 
                     
                        
                           | NG |   | REPAIR OR REPLACE HARNESS OR CONNECTOR |  |